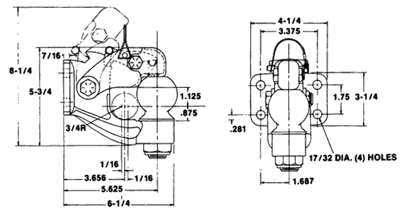
All dimensions shown are nominal.